E-mail: ruby@tianhaileather.com  Phone:+86-13058539752
EnglishEnglish
图层 10
Blog
You are here: Home » News » Industry News » What is PVC leather material?

What is PVC leather material?

Views: 77     Author: Site Editor     Publish Time: 2021-07-22      Origin: Site

What is PVC leather matiral?

The full name of PVC leather is Polyvinylchlorid, the main component is polyvinyl chloride, and other components are added to enhance its heat resistance, toughness, ductility, etc. It is a kind of synthetic material that is well-loved, popular and widely used in the world today.


The in PVC leather material is soft in texture and soft in color, which can soften the overall space atmosphere, and its deep three-dimensional sense can enhance the quality of the home. In addition to the function of beautifying the space, it is more important that it has the functions of sound absorption, sound insulation, moisture-proof and anti-collision.


PVC leather is mostly used in high-end hotels, clubs, KTV and other places, and it is rare in homes. Some high-end residential areas, villas, etc. will also be used in large areas during decoration. It is also widely used in sofas, car interiors, background walls and other places.


PVC leather material

Performance of PVC leather

1. PVC leather has unique properties, waterproof, fire-resistant, anti-static, easy to shape, etc.


2. The price of PVC leather is affordable. Ordinary pasting film is directly attached to the surface of the board with glue at room temperature, so after one or two years, the pasting film will easily fall off. PVC leather is applied to the special vacuum laminator to press on the surface of the board at high temperature, so it is not easy to fall off.

Although PVC leather has excellent quality assurance, some people may say that PVC leather is a chemical product after all, and cannot be compared with natural materials. It cannot eliminate odor and toxicity, and it cannot avoid harm to the environment.

But the fact is not the case. This is because the raw materials used to produce PVC leather are specially refined, and toxic substances are completely refined. Therefore, PVC leather is completely non-toxic and tasteless, and does not cause any irritation to human skin or the respiratory system. For those who are allergic to wood and paint, furniture or kitchen utensils wrapped in PVC leather are very suitable.


3. Easy to clean. Take the furniture with PVC leather as the surface material as an example. If these furniture do not use PVC leather, but use ordinary wood as the surface, then only cleaning and repairing will increase a lot of costs. In a small town in the United Kingdom, people In the past two decades, all efforts have been made to use wooden windows. Someone has investigated the cleaning and maintenance costs of these windows and compared it with the cleaning costs of PVC leather windows. The results show that the cleaning costs of ordinary wooden windows are more expensive than those of ordinary wooden windows. The cleaning cost of PVC leather windows is twice as high.


PVC leather is a new type of material. At present, this material is widely used in many industries. It has many advantages and corresponding disadvantages, but these disadvantages are acceptable under its many advantages.




Process introduction of PVC leather

PVC leather refers to leather-like plastic products made of PVC resin/auxiliary/fabric base through different processing techniques.

Additives: stabilizers, plasticizers, lubricants and fillers, etc.

Substrate: generally woven cloth and knitted cloth.

Process: coating method, calendering method and layering method.


Coating method

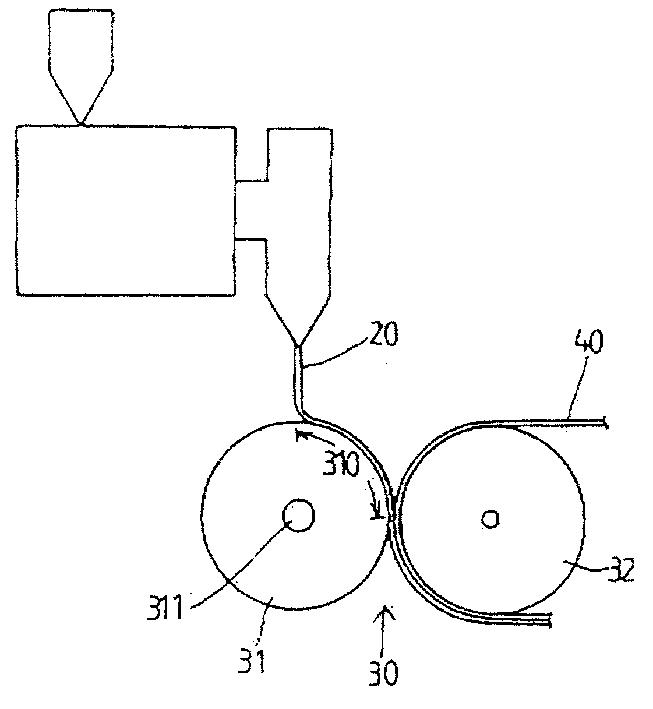
In the direct coating method, the PVC plastisol is directly coated on the pretreated fabric substrate with a doctor blade or a roller, and then plasticized, embossed, cooled, and coiled to produce PVC artificial leather.

Carrier coating method. Coat the PVC plastisol with a spatula or roller on the circulating carrier for pre-gelation, and glue the base and the semi-gelled coating together, after being completely plasticized, and after cooling, it will be laminated It is peeled off from the carrier, and then subjected to filming or surface treatment, and embossing to produce PVC artificial leather.

Features:

1. High requirements for the strength and density of the base, such as general knitted fabrics are not applicable.

2. A large amount of emulsion resin is required, and it is not easy to control the quality of the product. It is only suitable for the production of thin leather.


Calendering

The kneaded mixture is made into the required film or sheet on a calender, and it is laminated with the preheated fabric base, and then is embossed, cooled, and surface treated to make artificial leather.

The main production method of artificial leather: The calendering production line of PVC artificial leather is relatively mature and complete, and it has all been domestically produced. It has the advantages of automatic control level, high product dimensional accuracy and high production efficiency.


pvc leather material


Layer and method

First, the sheet is made by calendering, the adhesive is pre-coated on the fabric base, and the processed fabric base and the sheet are bonded together with a laminating device that can simultaneously emboss. There are two ways of layering: one is to apply the adhesive to the PVC sheet, and then attach the base. The other is based on the hot-melt properties of thermoplastics, so that the prefabricated sheet is heated and bonded to the fabric base.

Features:

1. Great flexibility, suitable for the production of small batches and multiple varieties of products.

2. It can produce products with three-layer structure, which is suitable for the production of thicker products, such as floor leather, conveyor belts, etc.


Leave a Message
Contact us
Home
Phone: +86-13058539752(Mr Xia) | E-mail: ruby@tianhaileather.com | Adress: Dongye Road, Houjie Town, Dongguan City
Copyright © 2021 Tianhai Leather